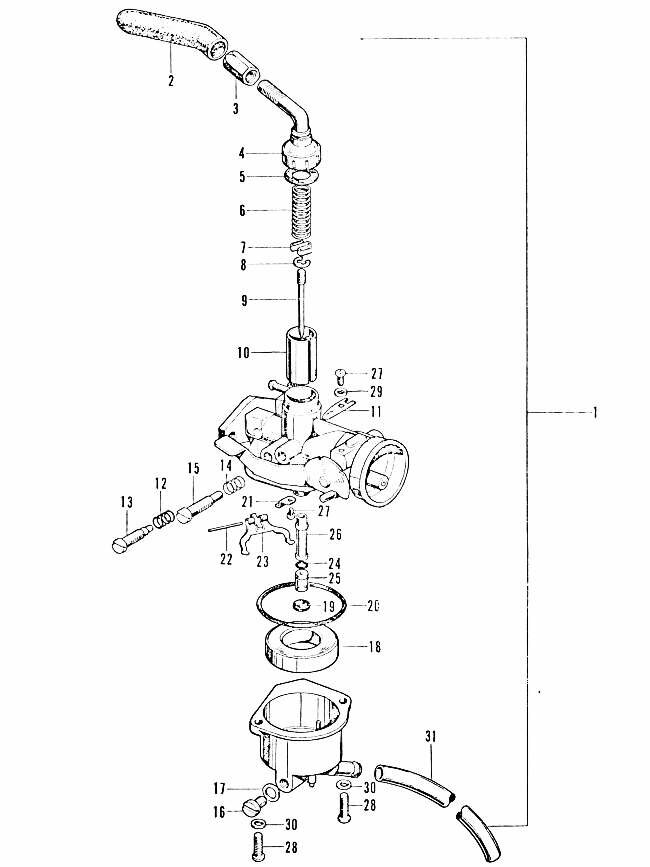
Ici, vous pouvez facilement rechercher des pièces via les dessins de la Honda PC50 K1
(Modèle hollandais)
La version PC50 K1 se distingue par sa fourche télescopique et un moteur avec arbre à cames inférieur.
Cliquez sur le dessin pour voir la liste des pièces correspondantes.