• Livraison rapide
  • Livraison gratuite Ă  partir de 75 €
  • Plus de 5000 pièces en stock

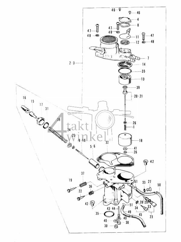
E13 - Carburetor (Keihin Seiki)

E13 - Carburetor (Keihin Seiki)
Replier Déplier